Series 35 Classic

Discontinued Model
35.1.075.0 product image
igus-icon-lupe
35.1.075.0 technical drawing
igus-icon-lupe
1 of 2
35.1.075.0 product image
35.1.075.0 technical drawing
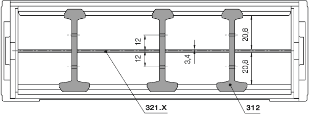
Inner height [Hi]
Inner height [Hi]
45 mm
Max. cable diameter
Max. cable diameter
42 mm
Opening principle
Opening principle
külső ívről nyitható
Inner width [Bi]
Inner width [Bi]
75 mm
Bend radius [R]
Bend radius [R]
75 mm

Consulting

I would be happy to answer your questions in person

Karasz Krisztián
Karasz Krisztián

igus-icon-phone+36 30 249 1878

Consultation and delivery

In person:
Monday - Friday: 7 am - 8 pm
Saturday: 8 am - 12 pm
Online:
Chat service
Monday - Thursday: 8 am - 6 pm
Friday: 8 am - 5 pm
WhatsApp service
Monday to Friday: 8am to 4pm
Hogyan javíthatjuk szolgáltatásainkat? Szívesen vennénk visszajelzését!
igus-icon-globeNyelv:Magyar|Ország:Magyarország

Az "Apiro", "AutoChain", "CFRIP", "chainflex", "chainge", "chains for cranes", "ConProtect", "cradle-chain", "CTD", "drygear", "drylin", "dryspin", "dry-tech", "dryway", "easy chain", "e-chain", "e-chain systems", "e-ketten", "e-kettensysteme", "e-loop", "energy chain", "energy chain systems", "enjoyneering", "e-skin", "e-spool", "fixflex", "flizz", "i.Cee", "ibow", "igear", "iglidur", "igubal", "igumid", "igus", "igus improves what moves", "igus:bike", "igusGO", "igutex", "iguverse", "iguversum", "kineKIT", "kopla", "manus", "motion plastics", "motion polymers", "motionary", "plastics for longer life", "print2mold", "Rawbot", "RBTX", "readycable", "readychain", "ReBeL", "ReCyycle", "reguse", "robolink", "Rohbot", "savfe", "speedigus", "superwise", "take the dryway", "tribofilament", "tribotape", "triflex", "twisterchain", "when it moves, igus improves", "xirodur", "xiros" and "yes" kifejezések az igus® SE & Co. KG/ Köln jogilag védett védjegyei a Német Szövetségi Köztársaságban és adott esetben egyes külföldi országokban. Ez a védjegyek nem teljes listája (pl. függőben lévő védjegybejelentések vagy bejegyzett védjegyek) az igus vagy az igus leányvállalatai Németországban, az Európai Unióban, az Egyesült Államokban és/vagy más országokban vagy joghatóságokon.

Az igus® SE & Co. KG felhívja a figyelmet, hogy a következő cégek, illetve az összes többi, hajtásokat gyártó és a webhelyen szereplő cég semmilyen termékét nem értékesíti: Allen Bradley, B&R, Baumüller, Beckhoff, Lahr, Control Techniques, Danaher Motion, ELAU, FAGOR, FANUC, Festo, Heidenhain, Jetter, Lenze, LinMot, LTi DRiVES, Mitsubishi, NUM, Parker, Bosch Rexroth, SEW, Siemens, Stöber. Az igus® által kínált termékek gyártója az igus® SE & Co. KG.