igus-icon-lupe
igus-icon-lupe
1 of 2
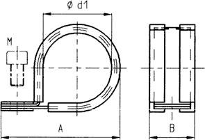
- DIN 3016 szabvány szerinti galvanizált acél
- Halogénmentes elasztomer profil
- Hőmérséklettartomány: -50 °C–105 °C
igus-icon-lieferzeit-dotI-SGB-07
7
Ezek a csőkapcsok a PMA védőcsövek felszerelésére és a PMA védőcsövek tiszta telepítésére szolgálnak az általános gépiparban és az üzemi felépítésben. Különösen megfelelő a statikusan telepített kábelek felszerelésére.
