Nyelvváltás :
Ellenőrizze, hogy az alkalmazott erők közötti távolságok a megengedett értékeken belül vannak-e (lásd a maximálisan megengedett távolságokat).
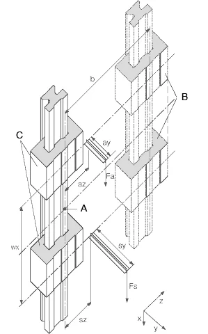
| Változat: 1 sín, 2 kocsi | Változat: 2 sín, 4 kocsi | |
|---|---|---|
| sy + sz | < | 2 wx - Y0 |
| ay + az | < | 2 wx - Y0 |

A = Koordináta eredet
B = lebegő irány
C = rögzített irány
A szükséges meghajtóerő kiszámítása
Először négy számítást kell elvégezni:
A maximális teherbírás kiszámítása
| Fa: | meghajtóerő | [N] |
| Fs: | Tehetetlenségi erő | [N] |
| Fy, Fz: | Csapágyazott terhelés y vagy z irányban | [N] |
| sx, sy, sz: | A tömegerő távolsága x-, y- vagy z-irányban | [mm] |
| ay, az: | A meghajtóerő távolsága y vagy z irányban | [mm] |
| wx: | A vagonok közötti távolság egy sínpályán | [mm] |
| LX: | Méretfüggő állandó | [mm] |
| Zm: | Méretfüggő állandó | [mm] |
| Y0: | Méretfüggő állandó | [mm] |
| b: | A vezetősínek közötti távolság | [mm] |
| µ: | súrlódási együttható, µ = 0 statikus terhelés esetén, µ = 0,2 dinamikus terhelés esetén | |
| ZW: | Sínenkénti csúszkák száma |
Ellenőrizzük a legnagyobb terhelésű csapágy maximális teherbírását a 4. lépésben kiszámított terheléssel.
| Rendelési szám | Fymax, Fzmax [N] |
|---|---|
| TW-01-15 | 2.000 |
| TW-01-20 | 3700 |
| TW-01-25 | 5.000 |
| TW-01-30 | 7.000 |

grafikon a meghatározott csapágyterheléshez megengedett legnagyobb sebesség meghatározásához.
X = centrikus csapágyterhelés [N]
Y = megengedett átlagsebesség [m/s]
A terhelés megengedett legnagyobb sebességének meghatározása a 4. lépésből.
In person:
Monday to Friday from 7 am - 8 pm.
Saturdays from 8 am- 12 pm.
Chat-Service
Monday to Thursday from 8 am - 6 pm.
WhatsApp-Service:
Monday to Thursday from 8 am - 4 pm.